锦书在线
80.52M · 2026-03-21
制造商正在跨越人工智能(AI)聊天机器人阶段,迈向更具实操性的应用:AI不仅能解释正在发生什么、推荐下一步该做什么,还能在复杂的工厂中安全地执行具体操作。
在这一转型中,两项关键的AI技术发挥着核心作用——检索增强生成(RAG)和模型上下文协议(MCP)。
本文将详细解析这两项技术,请先记住以下核心:
· RAG是“大脑”:它通过检索正确的文档和数据来回答问题,为AI系统提供基于事实的、最新的、工厂特定的知识。
· MCP是“双手”:它标准化了AI与工具和系统的连接方式,使模型能够通过一致的接口调用功能、查询记录系统并触发工作流程。
在停机成本高昂、网络安全不容妥协的工业环境中,两者缺一不可。

图1:RAG与MCP就像是工业AI的大脑与双手。
大多数制造商初次接触工业AI,是通过聊天式机器人或AI助手,用于解答类似下面的问题:
·3号生产线的上锁/挂牌程序是什么?
·为什么我们在第二班次产生了更多废品?
·上次运行该SKU时我们使用了什么设置?
这类问题正是RAG的专长所在。
RAG:让大语言模型扎根于工厂现实
RAG将语言模型与检索系统相结合,使输出能够基于明确的外部知识进行条件化生成,而非仅依赖模型权重内部的训练数据。在原始的RAG架构中,系统实时检索相关段落,并基于这些检索到的文档生成答案。
在制造业中,信息检索的来源并非网络资源,而是:
·标准操作程序、作业指导书和换线检查清单;
·质量记录和偏差说明;
·维护日志、技术员笔记和设备手册;
·制造执行系统(MES)/ 数据采集与监控系统(SCADA)上下文及报警合理化文档;
·工程标准与安全规程。
有了良好的检索层,AI可以通过引用回答,减少幻觉,并随文档更新保持信息实时性。
但这里有个关键问题:工厂运转靠的不是答案,而是行动。
如果你的AI只能提供建议,操作人员仍需打开正确的系统、找到正确的界面、输入正确的数值、申请审批、记录变更、通知相关方并确保安全约束得到满足。
这一“行动缺口”正是许多AI试点停滞的原因,因为真正的难点在于在复杂混乱的IT/OT环境中完成集成、权限管控与统一工具访问。
一些团队直接采用智能体AI,通过 RAG 在计算机化维护管理系统(CMMS)创建工单、从MES调取批次谱系报告、查询传感器数据、起草偏差记录、创建工单、订购备件或安排校准。
但若AI未基于特定流程、产品约束或近期变更控制的准确上下文,此类任务自动化将存在风险。
在受监管或安全关键环境中,盲目执行会导致设定值错误、文档不合规、网络安全暴露及工作流程混乱。

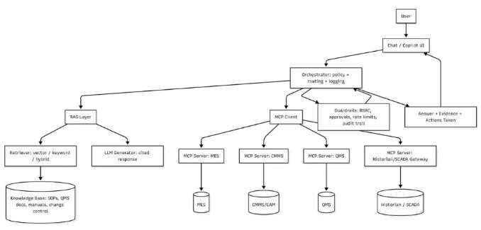
图2:协同编排的RAG与MCP工业AI工作流程。
MCP:工业AI缺失的连接纽带
MCP 是一项开放协议,旨在规范大语言模型应用与外部数据源及工具的对接方式。MCP 项目可在数据/工具服务器与AI客户端之间建立安全双向连接。
MCP规范提供统一集成层,使AI应用可通过通用接口发现并使用工具。这对制造业至关重要,因为工厂通常拥有历经数十年演进的多层系统,涉及企业系统、运营系统、数据采集与监控系统(SCADA)及现场控制器、设备与仪表的集成。
无需为每个模型与应用接口开发一次性插件,MCP可更统一、可复用地使用工具与数据能力。
对制造商而言,这意味着可以使用MCP服务器来封装:MES查询(谱系、在制品、配方版本)、CMMS工作指令创建和历史查询、质量管理系统(QMS)偏差模板和状态检查、历史数据库时间序列提取和聚合功能、工程文档系统和规格库,以及提供只读设备状态摘要的OT网关。
且这些工具可按角色(操作员、工程师、维护人员)、环境(开发、测试、生产)、审批流程(电子签名、主管授权)与网络区域隔离策略进行权限管控。
RAG与MCP落地真实工业流程
为阐明这些AI大脑和双手如何在制造业中最有效、最安全地协同工作,以下是几个两者结合发挥强大且安全作用的场景。
质量异常波动排查
RAG检索对应工序的标准作业流程章节、上月偏差汇总、近期供应商批次变更控制及测量设备校准要求。
同时,MCP从质量管理系统调取当前统计过程控制(SPC)趋势、查询制造执行系统中受影响批次谱系,若设备疑似异常则创建计算机化维护管理系统维护申请。
RAG与MCP协同下,AI不仅提示问题可能原因,还可跨系统整合证据并启动正确流程,避免操作人员在多系统间反复切换操作。
贴合实际的交接班
RAG 汇总班次记录、未解决报警、临时变通方案及相关流程,MCP从记录系统提取实时生产状态、停机原因、维护待办。最终形成基于文档依据和实时运营数据的交接班方案。
可控的配方与设定值变更
RAG 检索已审批的配方限值、质量约束与安全联锁备注,MCP向对应系统提交变更申请(非直接变更)、附佐证材料、流转审批并记录理由以备审计。这个例子也体现了制造业与普通消费级AI的一个关键区别:最优设计通常是人在回路 + 安全约束,而非完全自主。

图3:工业AI编排架构。
不可忽视的风险与治理层
工业AI不仅是软件,更是关乎安全、合规与生产连续性的决策支持工具。因此在工业应用场景中,安全约束至关重要:
· 采用标准导向的风险管理:例如,NIST的AI风险管理框架明确设计,旨在帮助组织管理AI风险,并在AI生命周期中植入可信度。。
· 工具权限与OT网络安全对齐:工业环境普遍遵循工业自动化与控制系统的规范网络安全实践,ISA/IEC 62443系列标准定义了工控系统安全实施与维护流程要求。
· 合理运用工业互操作性:在OT数据侧,OPC(包括OPC UA)等标准旨在为工业自动化数据交换提供安全、可靠的互操作性。这很重要,因为MCP工具仍然需要可靠的工业数据来源,OPC UA是许多工厂中已存在的通用标准。

面向制造业的落地路线图
如果您正在RAG助手和智能体之间做选择,不要将其视为分叉路口,而应视为一个序列:
· 从RAG起步,围绕标准作业流程、维护指导、质量排查等高价值知识流程落地,要求引用内部来源,衡量解答时效、返工减少量与操作员信心。
· 引入MCP实现受控工具访问时,从只读工具开始,如生产状态、报警和批次历史。仅在已存在工作流的地方添加写入工具,如CMMS请求和工单创建,并衡量交接错误减少和可追溯性改善等指标。
· 为有效扩展并确保治理,采用NIST AI风险管理框架风格的实践进行监控和问责。同时,将工具访问和分段与工业安全预期保持一致,如ISA/IEC 62443标准。