荣耀500使用体验分享:果味十足的轻薄人像神器
【在线原创技术解析】在智能手机同质化严重的今天,一款既能满足日常使用需求,又能在特定场景下带来惊喜体验的产品,往往能迅速吸引大家的目光。荣耀500标准版便是这样一款机型——它以7.75mm的轻薄机身容纳8000mAh
【在线原创技术解析】在智能手机同质化严重的今天,一款既能满足日常使用需求,又能在特定场景下带来惊喜体验的产品,往往能迅速吸引大家的目光。荣耀500标准版便是这样一款机型——它以7.75mm的轻薄机身容纳8000mAh
1 月 6 日消息,品胜在 CES 2026 期间推出了 iDock 无线充电座,兼容 Qi 2.2 25W 无线充电协议,还可通过配套 App 将手机化身 AI 伴侣。了解到,这款产品顶部配备一个无线充电板,正面
1 月 6 日消息,特斯拉官方微博今日回顾了近年来推出的免费更新内容,称 2022-2025 年累计推送了 58 次 OTA 远程升级,带来 100+ 项实用功能更新,覆盖娱乐、出行、控车领域。附特斯拉 2022-
1 月 6 日消息,铭凡现已为 X1 Pro 迷你主机新增锐龙 AI 9 HX 470 版本,集成 Radeon 890M 显卡,主打 AI 应用,定位中高端。据介绍,这款迷你主机的硬件配置几乎与前代产品一样,主要
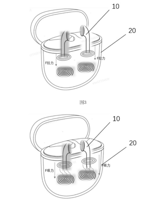
1 月 6 日消息,据科技媒体 XpertPick 今天报道,vivo 最近提交了《耳机组件及控制方法》专利,描绘一套更加智能、先进的真无线耳机,其耳机本体与充电盒之间可以实现无线充电,并且还能够进行跌落检测。在此
1 月 6 日消息,型号为“nubia NX799J”的红魔 11 Air 新机 Geekbench 跑分已曝光:单核 3075 分、多核 9934 分,博主 @体验more 透露了该机部分配置信息:搭载骁龙 8
1 月 6 日消息,据财联社报道,财付通公司近期发布公告,对微信支付零花钱功能的相关规则进行修订,新规则将于 2026 年 2 月 4 日正式生效。对新旧服务协议的对比分析发现,此次修订首次引入了“多家长模式”概念
1 月 6 日消息,微软又一次让全网陷入了困惑。过去几天,Reddit、Hacker News 和 X 平台上的帖子纷纷称,微软已将 Microsoft Office 更名为 Microsoft 365 Copil
1 月 6 日消息,一晚的睡眠状态中,或许潜藏着能提前数年预测重大疾病发生的线索。糟糕的睡眠质量通常会导致次日昏沉困倦,但它也可能在严重健康问题显现前数年就发出预警信号。斯坦福大学医学院的研究人员开发出一套全新的人
1 月 6 日消息,背靠电源原厂伟训 (HEC) 的游戏硬件品牌骨伽 (COUGAR) 在 CES 2026 上带来了三款 ATX 3.1 电源新品,分别是白金效率的 Polar V2、PV 和金牌效率的 GQ。升
1 月 6 日消息,零跑汽车今日公布了旗下全系车型的 1 月购车权益,涉及零跑 Lafa5、零跑 B01、零跑 B10、2026 款零跑 C11、2026 款零跑 C16、2026 款零跑 C10、零跑 C01 以
1 月 6 日消息,机器人租赁平台“擎天租”与连锁便利店品牌“美宜佳”于 1 月 5 日在上海举行战略合作签约仪式,一台机器人现场办理了“入职手续”,正式成为美宜佳漕河泾店的长期机器人员工。在 1 月 6 日至 8
学习通是常用的学习工具,可以随时进行学习,找到你需要的资源,跨平台就能在线学习,了解学习的进度,但是很多小伙伴找不到入口在哪,下面就分享给大家。学习通网页版登录
点击阅读