老爹疯狂厨房
125.32M · 2026-03-31
1 月 6 日消息,据科技媒体 XpertPick 今天报道,vivo 最近提交了《耳机组件及控制方法》专利,描绘一套更加智能、先进的真无线耳机,其耳机本体与充电盒之间可以实现无线充电,并且还能够进行跌落检测。
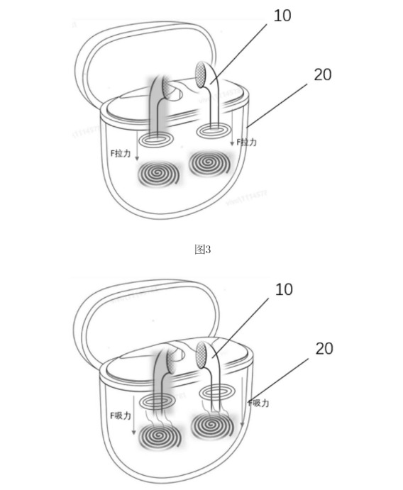
在此援引 XpertPick,专利中描绘的真无线耳机完全不需要通过传统的 pogo-pin(弹簧针)触点进行供电,其耳机本体配备线圈,而充电盒则带有线圈、电池、处理器以及无线充电模块。
从专利文件来看,这样的设计显然是为了实现双向无线充电,其中耳机本体将通过充电盒的电磁感应进行无线充电,能量将在耳机的第一线圈与充电盒的第二线圈进行传输,所以这套真无线耳机内部完全不需要装配触点。

同时,这套耳机还带有跌落检测机制,系统会持续检测耳机本体线圈与充电盒线圈之间的磁感应变化,如果不小心跌落,系统会立刻增强磁力,尽量将耳机固定在充电盒内,也可以直接切断电源供应以防止损坏。
此外专利还指出,这套耳机还可以配备压力传感器,结合磁感应变化以及压力信号,判断用户何时需要取出耳机,当用户打开耳机盒盖子时,系统会自动调节线圈电流,减弱磁力,从而让耳机本体更容易从充电盒中拿下。